Answer:A, D
Answer:A, D
Answer:C, D
Answer:the steel rod will elongate, without any perceptible change in shape, but the rubber rod will elongate with the shape of the bottom edge tapered to a tip at the centre
Answer:longitudinal and shear
Answer:will decrease
Answer:remain same
Answer:A, D

Answer:B, D
Answer:C, D

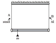
The tension in the strings will be
Answer:least in (b).
Answer:x2 / 2 L2

Answer:(b)
Answer:remain same.
Answer:low density and high viscosity
Answer:4%